浏览数量: 28 作者: 本站编辑 发布时间: 2024-09-09 来源: 本站
碳钢承插法兰是指将管子端部插入法兰环内,在管端及外侧焊接的法兰。承插法兰的刚性好,焊接变形小,这种结构使得承插法兰具有安装简便、密封性能好等特点。承插法兰广泛应用于石油、化工、造船、制药、冶金、机械、等行业。在这些行业中,承插法兰以其优良的性能和可靠的质量赢得了广泛的认可和应用。
碳钢承插法兰的规格
Size Range | 1/2"- 3" / DN15 - DN80 |
Pressure Rating | Class 150, 300, 600, 1500 |
Standard | ANSI / ASME B16.5 |
Carbon Steel | ASTM A105 / A105N |
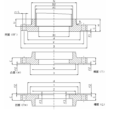
承插法兰的尺寸
承插法兰的压力等级有150#,300#,600#和1500#不同等级和规格的碳钢法兰具有不同的尺寸标准,包括外径、螺栓孔直径,法兰厚度等。法兰承插接口的直径要大于钢管直径以便于管道与法兰的焊接。
Class 300 承插法兰尺寸和重量

NPS | A | B | C | D | E | K | F | G | H | I | J | W |
inch | inch | inch | inch | inch | inch | inch | inch | No. of Holes | inch | inch | kg/pc | |
mm | mm | mm | mm | mm | mm | mm | mm | mm | mm | |||
1/2 | 3.75 | 0.62 | 0.56 | 0.88 | 0.88 | 0.38 | 1.5 | 1.38 | 4 | 0.62 | 2.62 | 0.66 |
95.2 | 15.7 | 14.2 | 22.3 | 22.4 | 9.6 | 38.1 | 35.1 | 15.7 | 66.55 | |||
3/4 | 4.62 | 0.82 | 0.62 | 1.0 | 1.09 | 0.44 | 1.88 | 1.69 | 4 | 0.75 | 3.25 | 1.15 |
117.3 | 20.8 | 15.7 | 25.4 | 27.7 | 11.1 | 47.7 | 42.9 | 19.1 | 82.5 | |||
1 | 4.88 | 1.05 | 0.69 | 1.06 | 1.36 | 0.5 | 2.12 | 2.0 | 4 | 0.75 | 3.5 | 1.4 |
123.9 | 26.7 | 17.5 | 26.9 | 34.5 | 12.7 | 53.8 | 50.8 | 19.1 | 88.9 | |||
1-1/4 | 5.25 | 1.38 | 0.75 | 1.06 | 1.7 | 0.56 | 2.5 | 2.5 | 4 | 0.75 | 3.88 | 1.75 |
133.3 | 35.1 | 19 | 26.9 | 43.2 | 14.2 | 63.5 | 63.5 | 19.1 | 98.6 | |||
1-1/2 | 6.12 | 1.61 | 0.81 | 1.19 | 1.95 | 0.62 | 2.75 | 2.88 | 4 | 0.88 | 4.5 | 2.55 |
155.4 | 40.9 | 20.6 | 30.2 | 49.5 | 15.7 | 69.85 | 73.15 | 22.3 | 114.3 | |||
2 | 6.5 | 2.07 | 0.88 | 1.31 | 2.44 | 0.69 | 3.31 | 3.62 | 8 | 0.75 | 5.0 | 2.93 |
165.1 | 52.6 | 22.3 | 33.2 | 62 | 17.5 | 84 | 91.9 | 19.1 | 127 | |||
2-1/2 | 7.5 | 2.47 | 1.0 | 1.5 | 2.94 | 0.75 | 3.94 | 4.12 | 8 | 0.88 | 5.88 | 4.4 |
190.5 | 62.7 | 25.4 | 38.1 | 74.7 | 19 | 100 | 104.6 | 22.3 | 149.3 | |||
3 | 8.25 | 3.07 | 1.12 | 1.69 | 3.57 | 0.81 | 4.62 | 5.0 | 8 | 0.88 | 6.62 | 5.92 |
209.5 | 78 | 28.4 | 42.9 | 90.7 | 20.6 | 117.3 | 127 | 22.3 | 168.1 |
碳钢承插法兰的密封面型式
常见的密封面型式有突面(RF)、平面(FF)、凹凸面(MFM)、榫槽面(TG)、环连接面(RJ)等。


突面(RF):这是承插法兰常见的一种密封面形式,其表面平整,通过螺栓连接时,依靠法兰密封面与垫片之间的压紧来实现密封效果。
凹凸面(MFM):凹凸面由凹面和凸面组成,一般一个法兰采用凹面,另一个兰采用凸面,两者通过螺栓连接并压紧,形成更加紧密的密封。
榫槽面(TG):榫槽面由榫面和槽面组成,类似于凹凸面,但榫面和槽面的形状更为复杂,能够提供更好的密封性能。
环连接面(RJ):环连接面是一种特殊的密封面形式,它采用环形密封结构,通过螺栓连接时,能够形成更加均匀的密封压力,适用于高压、高温等苛刻工况。
承插法兰的密封面形式选择取决于具体的应用场景和工况条件。一般来说,对于压力温度较低的场合,可以选择突面或凹凸面;而对于要求更高密封性能的场合,则可以选择榫槽面或环连接面。
碳钢承插法兰工作领域
●石油化工领域
在石油化工行业中,承插法兰被用于连接石油、化工、天然气等介质的输送管道。它能够有效确保管道系统的安全稳定运行,防止介质泄漏。
●能源领域
在能源领域,特别是发电厂中,承插法兰被广泛应用于水、气、汽等管道的连接。这些管道系统往往需要在高温、高压环境下运行,对连接件的耐高温性能和承压能力有严格要求。
●建筑领域
在建筑领域,承插法兰也被广泛应用于楼宇、桥梁、地下管道等建筑物的建造中。这些建筑物对管道系统的稳定性和安全性有较高要求,而锻制法兰凭借其可靠的连接性能和优异的耐腐蚀性能,能够为建筑物的运行提供稳定保障。
●其他领域
承插法兰还被广泛应用于轻重工业、冷冻、卫生、水暖、消防、电力、航天等基础工程中,成为管道系统中不可或缺的连接元件。
如何对承插法兰进行检验
对于碳钢承插法兰的检验我们通常有以下几步,首先通过目视检查法兰表面,确保表面光洁无明显缺陷。之后进行尺寸检查,按照标准或设计要求,逐一测量并记录各项尺寸数据。通过光谱分析仪测定法兰材料的化学成分,确保其符合相关标准和设计要求。严格的检验流程,可以确保承插法兰的质量和性能符合应用要求,为管道系统的安全稳定运行提供有力保障。

如何进行包装
碳钢承插法兰的包装方式通常采用木箱包装,以确保在运输和储存过程中不受损坏。首先,将承插法兰放置在中心位置,然后用泡沫塑料或气泡膜包裹,确保法兰的每个边缘都得到适当的缓冲。接下来,将包裹好的法兰放入木箱或塑料托盘中,并使用适当的填充物固定位置,防止在运输过程中移动。然后封闭包装,确保所有开口都牢固密封,以防潮气和灰尘侵入。

内容为空!